Advies nodig? Contacteer onze experts.

✉ info@peever.be    ☎ +32 3 480 60 44 


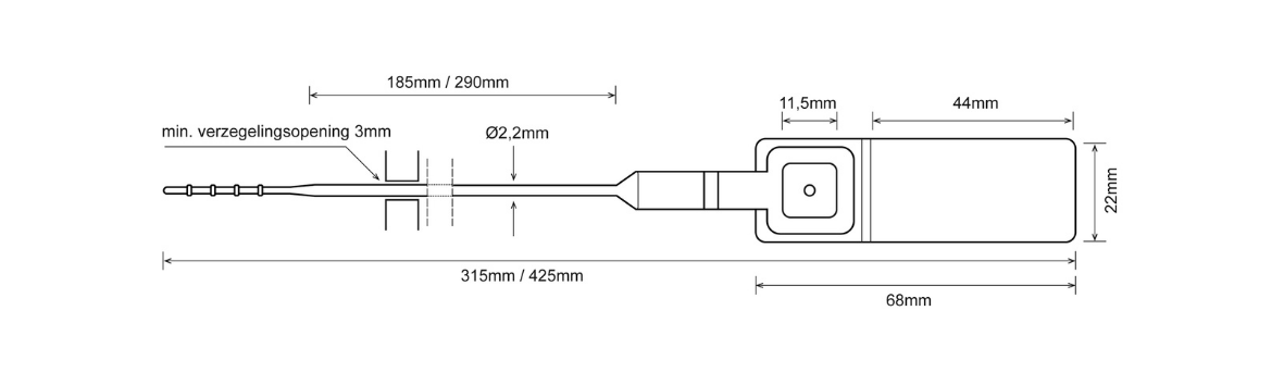
SP 23

BELANGRIJKE KENMERKEN

  • Aantrekzegel met stevige, ronde, gladde staart van2 mm doormeter.
  • Geïntegreerd RVS sluitmechanisme biedt extrabeveiliging tegen misbruik.
  • Leverbaar in 2 staartlengten.
  • Temperatuurbestendig tussen -20°C en +80°C.
  • Geschikt voor applicaties zoals post- & geldzakken,tankwagens, citernes, luchtvaart, trolleys,...

BESCHIKBARE KLEUREN

  • kleuropties: wit, grijs, groen, geel, blauw, rood, oranje

BEDRUKKING

  • Bedrukkingsmethode: Laser
  • Bedrukkingskleur: zwart
  • Identificatie: Max. 2 regels met 8alfanumerieke tekens + 7-cijferigserienummer
  • optie: Logo , barcode, QR code

AFMETINGEN

  • Operationale lengte: 230 mm (S), 335 mm (L)
  • Staartdiameter: 2 mm
  • Totale lengte: 315 mm (S), 415 mm (L)

TOEPASSINGEN

  • Brandbeveiliging
  • Keuringen en controles
  • Industrie en productieomgeving
  • Luchtvaart
  • Medische toepassingen
  • Zakken
  • Gevaarlijke stoffen
  • Monsters en staalname
  • Kwaliteitscontrole

 

VERPAKKING

Verpakt per 1.000 stuks/doos (matten van 10)